- 软件简介
- 软件截图
- 下载地址
新疆政务服务App,亦称新服办,是一款专为新疆地区居民设计的便民应用。它将各种政府服务整合到一个平台,让用户轻松进行生活缴费、资金查询以及证件办理等事务,无需亲自前往窗口办理。用户可以实时获取与当地相关的新闻和政策动态,并关注医疗和文化信息。还提供社区周边的餐饮、住宿、娱乐及购物等商户信息,使日常生活更加便利。个人还是企业用户,都能通过这一平台更高效地处理各类政务事务,享受个性化的服务体验。
应用特色
1、让你一键式轻松享勁理证件的乐趣,所有的税收服务、教育缴纳都能办理;
2、共同服务的行政权力、所有的功能都能亲自办理,整合了所有的项目;
3、一键式通过在线平台办理,所有的服务指南、各种清单事项全面享受;
4、快乐的办理不同服务,使用稳定、优化的清新界面,纳税涉税平台;
5、提供证件办理、社保服务、 人力资源、民生政务等等事务,就算在家也能轻松办理。
新疆政务服务app申报流程
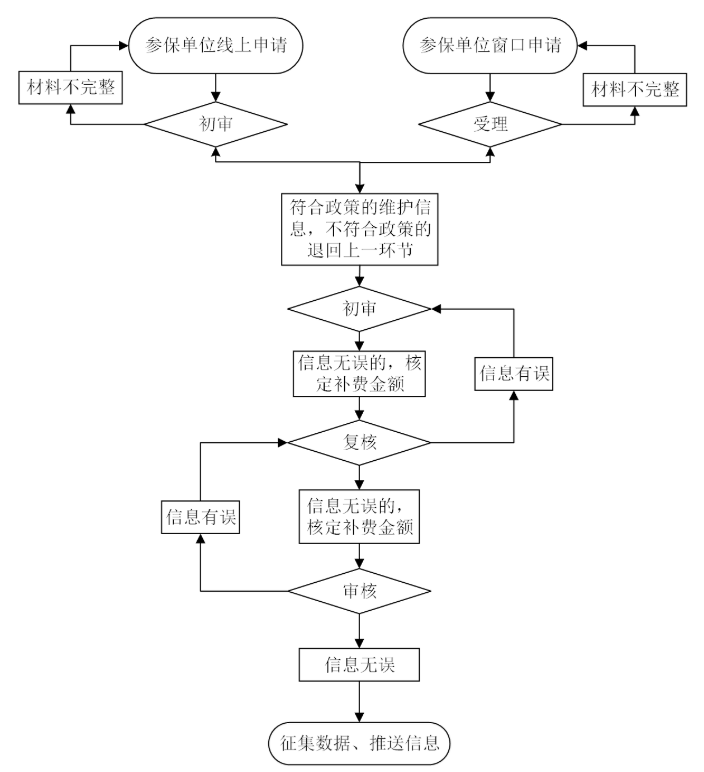
职工社会保险费断缴补缴申报流程图:

应用亮点
1、公积金查询
随时随地查询你的公积金,买房、装房心中有数。
2、公共资源缴费
水费、天然气费、有限电视费、小区宽带在家轻松线上缴费。
3、吃喝玩乐
提供社区周边美食、酒店、电影、购物等海量商户信息,拿不定注意的时候来逛逛吧。
4、政务服务
老年证、再生育证、就业失业登记证、计划生育健康证、五保证等在线办理,可在线查询办事指南,一次就办成,何必跑多趟。
5、网上预约挂号
看病急,排队难,'小事儿'预约挂号在线办理帮您和家人解决挂号难题。
更新日志
最新版本:v3.2.4 更新时间:2026-04-02
修复BUG,提升使用体验。
软件截图
下载地址
安卓下载立即下载















喜马拉雅极速版旧版本2.0.9.2
手机软件
未命名
未命名
密室逃脱7环游世界2022
手机游戏
点个猫编程教学
手机软件
喵眼精灵监控app安卓手机
手机软件
爱玩实时变声器免费版安卓
手机软件